臂型盘式制动器的结构特点
2014-07-08 11:33:10 来源: 点击:
(1)杠杆式制动臂型盘式制动器
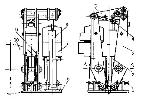
杠杆式制动臂型盘式制动器的设计总图如图l所示,这种制动器具有以下特点;
①上闸弹簧采用圆柱形弹簧,垂直安装,比蝶形弹簧刚度小。
②易于装设制动衬垫磨损自动补偿装置。
⑧松闸装置(推杆)通用性好。
④结构简单、制造容易、易于推广使用。
其不足之处为外形尺寸较大,机械效率稍低。

图l 电力液压制动臂型盘式制动器(I型)
1、退距调整装置2、制动瓦块3、制动臂4、制动衬垫自动补偿装置5、杠杆机构6、底座7、液压推杆8、弹簧装置9、瓦块随位装置l0、制动盘
(2)楔块式制动臂型盘式制动器
这种制动器的上闸力由直接作用在两制动臂上部的蝶形弹簧产生,当推杆推动楔块装置运动时,克服蝶形弹簧力,分开两制动臂实现松闸。图2为楔块式制动臂型盘式制动器(Ⅱ型)的外形简图。这种结构具有上闸快、外形尺寸小、松闸装置(推杆)通用性好等优点。但因其结构过于紧凑,空间狭小,不易安装制动衬垫磨损自动补偿装置。由于蝶形弹簧刚度犬,微小的变形会引起上闸力的犬变化,使制动力矩值与所需力矩值有较大的误差,影响制动的准确性。

图2 电力液压制动臂型盘式制动器(II型)
1、底座2、制动瓦块3、制动臂4、内装碟形弹簧5、制动盘6、液压推杆
2.设计时的注意事项
I型盘式制动器的理论讨算与详细设计可参见文献[1]、[2]。设计时应注意的问题如下:
(1)制动臂的强度计算取安全系数n≥3,制动臂的刚度设计要考虑制动臂上端变形对电力液压行程的影响。
(2)设计制动衬垫补偿装置时,应使棘爪的安装位置能保证棘爪在棘轮的中心线附近工作。
(3)在设计实心制动盘时无特殊要求。设计直通凤道制动盘时应考虑散热性能和强度,设计曲线通风道时应使制动盘正、反转的散热量相差越小越好, 选择合理的曲线形状。
摘自:http://www.zgbrake.com/news/34

